3PC螺紋球閥
產品名稱:3PC螺紋球閥
產品詳情

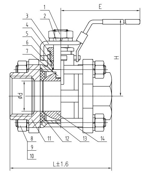
MAIN PARTS AND MATERIALS
NO. | PART NAME | MATERIAL | NO. | PART NAME | MATERIAL | |
1 | Nut | 304/316 | 8 | Bolt | 304/316 | |
2 | Spring Washer | 304/316 | 9 | Spring Washer | 304/316 | |
3 | Handle | 201 | 10 | Nut | 304/316 | |
4 | Gland Nut | 304/316P | 11 | Cap | CF8/CF8M/WCB | |
5 | Packing | PTFE | 12 | Seat | PTFE/RPTFE | |
6 | Thrust Washer | PTFE | 13 | Body | CF8/CF8M/WCB | |
7 | Stem | 304/316 | 14 | Ball | 304/316 |
CONFIGURATION DIMENSION
SIZE ITEM | 1/4” | 3/8” | 1/2” | 3/4” | 1” | 11/4” | 11/2” | 2” | 21/2” | 3” | 4” |
d | 12 | 12 | 15 | 20 | 25 | 32 | 38 | 49 | 63 | 76 | 96 |
L | 67 | 67 | 67 | 78 | 86 | 100 | 110 | 130 | 165 | 201 | 234 |
H | 59 | 59 | 61 | 67 | 74 | 82 | 99 | 105 | 120 | 137 | 157 |
E | 95 | 95 | 115 | 125 | 150 | 160 | 190 | 200 | 265 | 310 | 310 |
設計標準Design standards
設計標準: ASME B16.34
結構長度: DIN3202-M3
連接法蘭: ASME B12.01(NPT) 、DIN2999&BS21
ISO228/1&ISO7/1
試驗與檢驗: API
Design Standard: ASME B16.34
Face to Face; DIN3202-M3
Flanged Ends: ASMEB12.01(NPT)、DIN2999&BS21
ISO228/1&ISO7/1
Test and Inspection: API